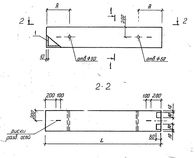
Колонна железобетонная 2КНО 42-42-5-32-00 представляет собой железобетонное изделие, предназначенное для использования в строительстве. Колонна выполнена из высококачественного железобетона, что обеспечивает ей прочность и долговечность.
Колонна железобетонная 2КНО 42-42-5-32-00 применяется в строительстве зданий и сооружений для создания несущих конструкций. Она может использоваться как опора для перекрытий, кровли или других элементов конструкции. Колонны данного типа широко применяются в жилом, коммерческом и промышленном строительстве благодаря своей надежности и устойчивости к нагрузкам.









